A Denon és Marantz AV erősítőkben frissítéssel implementált DTS Virtual:X hangmód magassági és/vagy hátsó surround hangsugárzók nélkül is körülölelő háromdimenziós térhangzást hoz létre.
Apple: egyszerűsítés a házi-mozi surround hang beállítására
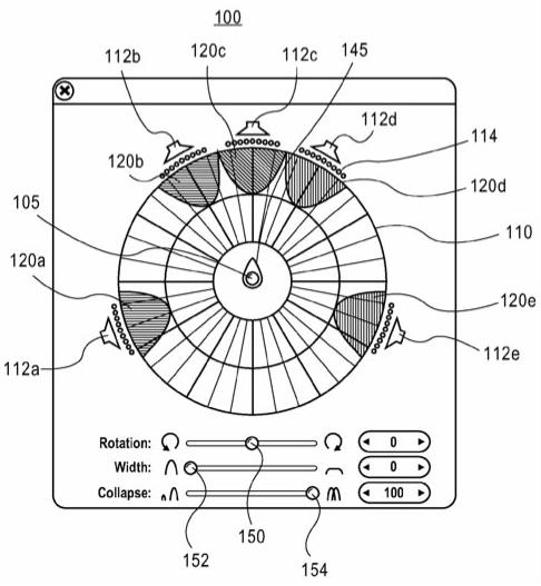
Az Apple szoftveres hang „panoráma-szabályzó” megoldással könnyítené meg a felhasználóknak a surround hangrendszer megfelelő konfigurálását, hogy felállított házi-mozi összeállításukból a lehető legjobb hangot nyerhessék ki.
GY.I.K. (Gyakran Ismételt Kérdések)
A kérdések (1-12)… Mi is a Dolby Digital és hogyan működik?Miben különbözik az 5.1 csatornás Dolby Digital a Dolby Surround-tól?Minden Dolby Digital műsor 5.1 csatornás?Minden DVD-Video lemez rendelkezik Dolby Digital hangsávval?Hogyan határozható meg egy hangsáv formátuma?A különböző digitális hangátviteli formátumok hány hangcsatornát közvetítenek?Milyen hangsugárzókból álljon a diszkrét, sokcsatornás, digitális hangrendszer?Használjak-e dipólus vagy bipoláris surround hangsugárzókat?Mire …
